现在的年轻人相比于我们上一辈,在消费方面相当大方,尤其是重视品牌、质量,注重消费体验和升级。以洗护用品为例,乘着洗护升级的东风,阿道夫就在渠道方面获得了超高的人气和口碑,并且还获得一种忠实的粉丝。

相比于普通的洗护用品,阿道夫走的是高端路线。然而,你可能不知道,你花钱买回来的阿道夫可能不是真的“阿道夫”。
近日,由广州宝丰化妆品有限公司所持有的 “宝利阿道夫BAOLIADAOFU”(第17881190号)商标,在2019年1月15日被国家工商总局商标评审委员会宣告无效。此前阿道夫通过法院维权已经相继将“添姿色·阿道夫”(第20532844号)与“苏泉阿道夫”(第23230900号)商标无效了。这也给了那些企图通过商标傍名牌的“山寨货”予以打击。
阿道夫是陈殿松创建的化妆品品牌,隶属于广州阿道夫个人护理用品有限公司。自面世以来,阿道夫凭借高品质在市场上迅速扩大,获得良好的口碑。数据表明,在2018年的双十一中,阿道夫以7.2%的市场份额,占据了占据了国产洗护品牌销量第一的位置。
据悉,阿道夫天猫官方旗舰店共有173万粉丝,销量最高的阿道夫轻柔亮泽丝滑洗护产品有19.6万笔交易,位列第二的产品销量有4万件。而滋源天猫旗舰店共有粉丝219.1万人,销量最高的产品有3.97万人付款。宝洁旗下的海飞丝入驻在宝洁官方旗舰店中,销量最高的海飞丝产品有5.84万人付款。可见,阿道夫产品确实非常火。
阿道夫的成功可以说是相当神奇的,因为他几乎没有花钱打广告,都是靠着口碑通过渠道积累的客源。但也正因为这样,阿道夫火了之后面临市场假冒山寨的风险。
目前市场上有多个带“阿道夫”字样的洗护品牌在各个渠道跟电商平台流通,据不完全统计,除了上文提到的 “添姿色·阿道夫”(第20532844号)与“苏泉阿道夫”(第23230900号)以及“宝利阿道夫BAOLIADAOFU”(第17881190号),市场上常见到的类似阿道夫商标的还有“柏爵阿道夫”、“郎奇丝香薰阿道夫”、“恋尚 阿道夫”、“雅利阿道夫”等不下十余种。


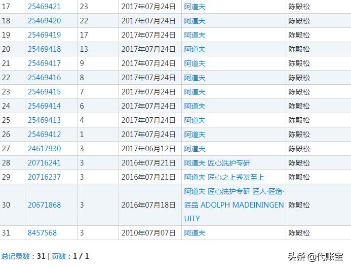
据悉,目前商标网有关阿道夫的商标申请就多达144件,而属于阿道夫创始人陈殿松的商标只有31件,其中最早的商标是2010年注册的,商标类别是3类,适用于化妆品、洗发业。也许是阿道夫火了之后,山寨货变多了,陈殿松于2016年开始大量的注册阿道夫商标,从3类、1类、4类到24类、11类35类不等,商标名称也扩大到像“阿道夫蒂姆森、阿道夫匠心洗护专研”等等。
在我国,商标受法律的保护,注册者有专用权。一般来说,品牌发现侵权,可以向法院提起诉讼,但对于商品流通领域而言,这样的侵权维权周期比较长,执行起来也不容易,还是会造成一定损失。因此,对于阿道夫来说,未来维权的道路还是非常漫长。消费者在购买的时候如果怕买到假货,可以通过天猫官方旗舰店途径,减少买到山寨产品。
版权声明:CosMeDna所有作品(图文、音视频)均由用户自行上传分享,仅供网友学习交流。若您的权利被侵害,请联系删除!
本文链接://www.cosmedna.com/article/141185444.html








 
                                             
                                             
                                             
                                             
                                             
                                             
                                             
                                             
                                             
                                             
                                             
                                             
                                         
                                         
                                         
                                         
                                         
                                         
                                         
                                         
                                         
                                         
                                         
                                         
                                        