使用假的化妆品会有危害如下:
危害1、会引起光感性皮炎 ,化妆品中的光感物质引起皮肤黏膜的光毒性反应或光变态反应。
危害2、会引起的皮肤色素沉着或色素脱失多发生于面、颈部。
危害3、使用假的护肤品还会引起面部痤疮样皮疹,可引起黑头、粉刺或加重已存在的痤疮。
危害4、假冒化妆品含超标的汞、铅、砷、铬等重金属,会引起肌体各种不良反应,如失眠,记忆力不好,特别是情绪的变化是非常明显。
危害5、间苯二酚超标,间苯二酚主要用于染料工业、塑料工业等领域,具有毒性,可引起头痛、头昏、抽搐、呼吸困难、体温及血压下降,涂在皮肤上可引起皮肤损害,并可吸收中毒甚至引起死亡。



化妆品如何快速识别假货,首先要学习关于化妆品的基础知识,我们国家主要根据《化妆品监督管理条例》《化妆品注册备案管理办法》《化妆品安全评估技术导则》《化妆品功效宣称评价规范》《化妆品标签管理办法》《化妆品生产经营监督管理办法》等法规对化妆品的生产、销售以及使用安全进行了有效管理。想要学习的尽量把这六个文件搜索找到,下载保存一下。
通过学习这些知识,让我们大致能了解到我国实行的是化妆品注册人制,这个所谓的注册人指的不是自然人,而是指的化妆品生产厂家,化妆品分为普通化妆品和特殊化妆品两大类。
原来特殊化妆品分为九个类别,分别包括:育发类、染发类、烫发类、脱毛类、美乳类、健美类、除臭类、祛斑类(新增美白)和防晒类,也就是俗称的九大类特殊化妆品。
类别,分别包括:染发类、烫发类、祛斑类(新增美白)和防晒类,也就是俗称的四大类特殊化妆品。
特殊用途化妆品由国家药品监管部门实行审批管理。进口特殊用途化妆品批准文号格式为“国妆特字J+4位年份+四位顺序号”;国产特殊用途化妆品批准文号格式为“国妆特字G+4位年份+四位顺序号”。
例如:
国产特殊化妆品:丹芝防晒露SPF30,它的产品类别:防晒类,注册证号:国妆特字G20131021。
非特殊用途化妆品由国家或省级药品监管部门实行备案管理。进口非特殊用途化妆品备案号格式为“国妆备字+年份+四位顺序号”或“国妆网备进字+(境内责任人所在省份简称)+四位年份数字+六位顺序号”;国产非特殊用途化妆品备案号格式为“省的简称+G妆网备字+年份+六位顺序号”。
例如:某款进口化妆品
沢歌修护化妆水,它的备案编号:国妆网备进字(沪)2019008222,备案人企业名称:沉歌化妆品事业有限公司,备案日期:2022-02-13。
每种化妆品都要有一个批准文号或者备案号,就连染发产品的不同颜色都有不同的批准文号或者备案号,同时每个化妆品厂家都要有一个生产许可证编号,就是国家对你这个化妆品厂家进行了验收,你合格了,发给你化妆品生产许可证,允许你去生产化妆品。而这些信息又都会展示在化妆品的标签中,《化妆品监督管理条例》中明确规定化妆品的最小销售单元应当有标签,进口化妆品可以直接使用中文标签,也可以加贴中文标签(内容上与原标签一致)。如果产品净含量不大于15g或15ml,仅需展示:产品中文名称、特殊化妆品注册证书编号、注册人或者备案人的名称、净含量、使用期限等;其余信息可在产品说明书中标注。如下图:

我们从标签上能够看到,化妆品的一些基本信息,其中对打假最有用的是三个信息,分别是,生产企业名称,批准文号或者备案号,还有厂家的化妆品生产许可证编号,已经明白的打在标签上了,我们去哪里核查真假呢?分以下四步:
第一步:搜索国家药品监督管理总局
在任意一个搜索平台上输入“国家药品监督管理局”并点击搜索,一般排行第一的就是国家药监局官网。当然也可以直接 输入官网地址“//p1-tt.byteimg.com/origin/tos-cn-i-qvj2lq49k0/31d7f95e133a44079cffa3d4e3d0846d.jpg" style="width: 650px;">
第二步:选择化妆品栏目点击进入
在官网首页可以见到机构概况、政务公开、药品、医疗器械和化妆品这五个栏目,选择化妆品栏目并点击进入,化妆品查询

出现下图:

此处有国产特殊化妆品注册信息,进口特殊化妆品注册信息,进口化妆品化妆品原料备案信息,化妆品注册和备案检验检测机构,化妆品生产企业 (这个就是厂家的化妆品生产许可证的查询地方),国产普通化妆品备案信息, 进口普通化妆品备案信息共八项信息的查询链接。
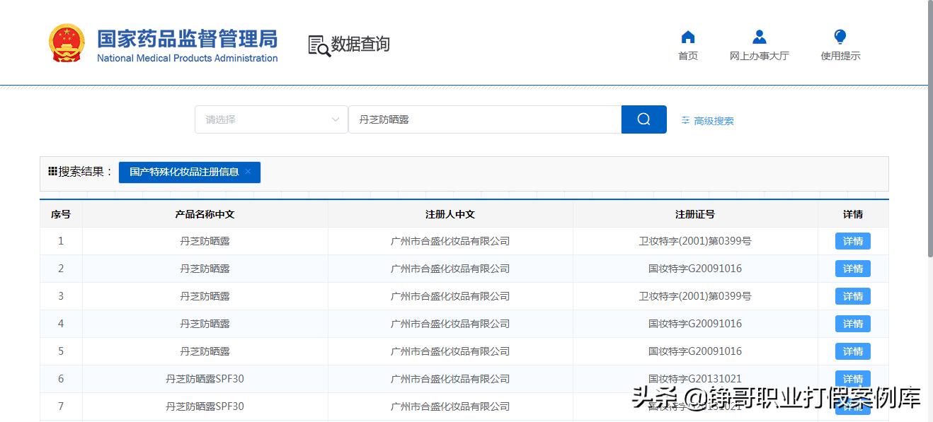
第三步:在快速查询中输入产品名称
不管是点击国产化妆品还是进口化妆品,出现的页面中都能看到快速查询的栏目,在搜索栏中输入所购买产品的名称即可,点击查询后在下方就能看到产品的内容列表,找到对应产品并点击就能获得产品的备案信息。

还以丹芝防晒露SPF30为例搜索,信息展示如下图,能查到注册证号,因为是特妆。证明是国家批准过的,是正品。

第四步查厂家是否存在,去国家企业信用公示系统查:
http://www.gsxt.gov.cn/index.html

再给大家看一个假冒的化妆品,查出来的信息如下:

违规项如下:
一、通过国家企业公示系统查询,广州市丽婷化妆品有限公司已经注销。

二、通过国家药品监督管理局网站查询不到标签所示的化妆品生产许可证号:XK16-108 3022,正规的厂家的化妆品生产许可证号格式是省份+四位年份+四位数,例如:粤妆20210392。
三、通过国家药品监督管理局网站查询不到标签所示的特妆字号:(2002)字1135号,因为前面已经说了,国产特殊用途化妆品批准文号格式为“国妆特字G+4位年份+四位顺序号”,例如:国妆特字G20131021,所以这个很明显是编造的特妆字号。

综上所述,图中就是个妥妥的假冒伪劣化妆品。亲们如果查实了就赶快停止使用并及时维权把。
版权声明:CosMeDna所有作品(图文、音视频)均由用户自行上传分享,仅供网友学习交流。若您的权利被侵害,请联系删除!
本文链接://www.cosmedna.com/article/768323316.html








 
                                             
                                             
                                             
                                             
                                             
                                             
                                             
                                             
                                             
                                             
                                             
                                             
                                         
                                         
                                         
                                         
                                         
                                         
                                         
                                         
                                         
                                         
                                         
                                         
                                         
                                         
                                         
                                         
                                        