1儿童化妆品的市场潜力有多大?
“颜值经济”从娃娃抓起,数据显示,从2019年到2024年,预计全球儿童化妆品市场的复合年增长率为8.66%,到2024年市场价值将高达235.7亿美元。到目前为止,我国儿童化妆品市场总额约为100亿元,且这一市场每年成长超过 30%。2020年考拉海购数据显示,儿童化妆品的整体销售额增长超过1200%,儿童护肤品市场规模未来达500亿元,儿童彩妆同比增长300%。
无论是国内还是国外,儿童化妆品行业的空前繁荣,品牌该如何抓住风口顺势而为?
2行业背景
全球婴幼儿与儿童护理产品是个人护理与美容行业中增长最快的类别,在疫情前的 2019 年,全球婴幼儿与儿童护理产品就已经达到了 190 亿美元的市场规模。同时,高端产品在整体市场中的占比正逐年上升,这一趋势在中国市场表现得尤为明显。2017 年,中高端产品占比达 12.7%,在 2020 年这一占比则已超过 13%,增速超过 16%。
而在中国,随着生育政策的全面放开,儿童基数的增长将为中国儿童护理市场带来一段黄金发展期。根据亿欧智库的预测,在 2021 年中国的母婴行业市场规模将超过 4.46 万亿元,年复合增长率达到 12%。
另一方面,随着新一代年轻父母消费能力和育儿观念的改变,育儿投入不断攀升,推动行业走向品质化、精细化养育的新时代。数据显示,家庭育儿年投入金额持续上升达到5207元,同比增加12%,与此同时消费者对健康、品质和卫生的关注度提升,高端价位产品激增,中高端的发展趋势明显,在此背景下,产品品类更加细分和多元。
3品类细分

(截图来源于大麦星球)
从护理功效上据大麦星球数据显示,,儿童产品的购买偏好开始多样化,如儿童肌肤护理倾向保湿+滋润+防护多效并重,讲究深入肌肤状况精细化护理,需要结合不同季节、人群肤质状况,提供针对性护理和滋养方案。

牛油果精华护霜成分
水、甘油、椰油酸甘油酯类、鲸蜡醇、玉米(ZEA MAYS)淀粉、鲸蜡醇磷酸酯钾氢化棕榈油甘油酯类、苯氧乙醇乙基己基甘油、卡波姆、香精、EDTA二钠水、乙基己基甘油、氢氧化钠、p-茴香酸牛油果树(BUTYROSPERMUM PARKII)果脂、生育酚乙酸酯。
在产品上,对安全、天然有机、植物草本、温和配方的需求较强。其中,天然安全成分全网用户关注度最高超过48%。在成分方面,植物成分、菌类成分众心所向,蔬菜水果成分崭露头角,牛油果成带货王。如,强生儿童牛油果精华润护霜,上市两年销量同比
4儿童护肤品

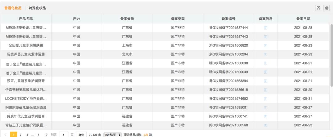
(截图来源于大麦星球)
据大麦星球最新备案数据显示,2021年5月1日至今,共有336款儿童国产非特殊化妆品相关备案信息,每月的备案注册通过率总体呈上升趋势,其中儿童护肤类产品占大多数,彩妆类有25款产品,占7%。
5海外情况
在海外“Clean Beauty”的热潮正逐渐渗透到了儿童护肤产品领域中。
新兴的儿童护理品牌正在开发专门的符合“Clean Beauty”概念的产品,旨在通过去除类固醇、苯甲酸酯和其他对儿童皮肤有害的物质,对儿童脆弱的肌肤屏障起到保护作用,同时利用不同的天然成分来治疗儿童湿疹等各种皮肤疾病。
美国演员 Jessica Alba 在 2012 年创建的 The Honest,便是一个专门为新生儿家庭提供无毒、天然的婴幼儿及家庭用品的生活方式品牌。NBA 球星 Dwyane Wade 和妻子 Gabrielle Union 则计划在今年晚些时候推出名为 Proudly 的儿童护理品牌,“金小妹” Kylie Jenner 同样也打算推出主打“Clean Beauty”概念的儿童护理品牌。

6儿童彩妆类
儿童国外彩妆品牌
目前已在中国市场“露面”的国外儿童美妆品牌主要有Claires(美国)、Townley Girl(澳大利亚)、Miss Nella(英国)、Diel(韩国)、Puttisu(韩国)等。其中Claires是针对年轻女子和少女的一站式时尚搭配中心,主打配饰及美容用品,也包括儿童美妆。Townley Girl 、Miss Nella 、Diel 、Puttisu等则是专业儿童美妆品牌。值得一提的是,上述品牌中目前仅有Miss Nella入驻了天猫国际。


(截图来源于大麦星球)
据大麦星球数据分析,Miss Nella针对儿童们的美妆需求,隆重推出了五大产品系列,包括水溶性指甲油、儿童彩妆、泡泡浴球、化妆礼盒以及美妆工具。
7儿童彩妆国内品牌
国内的儿童彩妆也逐渐往成人彩妆趋向发展,口红、眼影、气垫CC霜、腮红、卸妆湿巾、指甲油等品类渗透儿童彩妆领域。如莱索兔、粉红小象等国内新锐儿童彩妆品牌,多以彩妆礼盒形式推出。丰富的儿童文娱活动如节目表演、才艺比赛等将成为儿童彩妆的刚需。

(莱索兔子)
儿童化妆品还需考虑兼具一定的玩具属性和社交属性,正如儿童手表一样能完美结合专业性、娱乐性的产品。此外,从企业长远发展来看,IP打造、跨界联名和用户运营等提升品牌附加价值的策略也非常重要。
儿童法规最新解读

大麦星球将根据以上法规文件,从产品分类、标签要求、配方原则、测试项目等类别进行分析。



《化妆品生产经营监督管理办法》要求
一、明确儿童护肤类化妆品应具备严格的生产条件,并在化妆品生产许可证上进行特别标注。
二、要在标签上明确标注为儿童化妆品。
三、应避免与食品药品混淆,防止误食误用。
四、生产销售儿童玩具,应防止被误用为儿童化妆品。
另外,在儿童化妆品中非法添加可能危害人体健康的物质,属于情节严重的违法情形,将依法从严从重处罚。

咨询
速览
儿童法规的未来趋势
7月5日,国家药监局综合司宣布,儿童化妆品成2021年下半年国家化妆品安全风险监测重点品种之一,这也是国家药监局在上半年开展育发、儿童化妆品两项化妆品安全专项风险监测工作的基础上作出的部署。据计划,下半年将采集样品约1100批次,覆盖线上和线下。11月30日前,将起草包括儿童化妆品在内安全风险监测工作年度报告,提出监管建议。
① 标签特殊标注,不得与食品、药品相似,防止误食、误用
② 最严儿童化妆品法规出台
安全评估报告要求:备案人对儿童化妆品进行安全评估时,在危害识别、暴露量计算等方面,应当考虑儿童的生理特点。儿童化妆品应当通过必要的毒理学试验项目进行产品安全性评价。
③ 自查自纠:国家局全国范围开展“儿童专项治理工作”
特别需留意:“适用于全人群”“全家使用”等词语或者利用商标、图案、谐音、字母、汉语拼音、数字、符号、包装形式等暗示产品使用人群包含儿童的普通化妆品。
儿童化妆品未来是高壁垒的产品分类,新品牌进入门槛提高
不管是在研发成本还是检测成本,都是一个不小的数目,不过还是要看市场的需求,风险即机遇,如果市场就只有一家做,属于垄断供应,也是一个商机。
版权声明:CosMeDna所有作品(图文、音视频)均由用户自行上传分享,仅供网友学习交流。若您的权利被侵害,请联系删除!
本文链接://www.cosmedna.com/article/286585535.html








 
                                             
                                             
                                             
                                             
                                             
                                             
                                             
                                             
                                             
                                             
                                             
                                             
                                         
                                         
                                         
                                         
                                         
                                         
                                         
                                         
                                         
                                         
                                         
                                         
                                         
                                         
                                         
                                        