因认为域名注册机构北京新网数码信息技术有限公司在域名中突出使用“3CE”字样,“3CE”商标使用权人莱雅公司(L‵OREAL SOCIETE ANONYME)以侵害商标权为由将北京新网数码信息技术有限公司诉至法院,要求新网数码即向莱雅公司书面披露“3ce.cc”域名注册人主体身份信息(包括姓名、名称、证件号码、地址、联系方式等)。日前,海淀法院受理了此案。
近日,莱雅公司以侵害商标权为由将“3ce.cc”的域名注册机构北京新网数码信息技术有限公司诉至法院,目前,北京海淀法院已受理了此案。
企查查数据显示,北京新网数码信息技术有限公司成立于1993年,中国数码集团下属子公司,是国内顶级的互联网基础应用服务提供商。业务范围包括域名注册服务、主机服务和电子邮箱服务等。
称“3CE”系列商标遭擅用,莱雅公司起诉侵害商标权

据海淀法院网发布消息,原告莱雅公司诉称,1907年,欧仁·舒莱尔创办了“法国无害染发剂公司”。1939年4月4日,“法国无害染发剂公司”正式更名为莱雅公司(L’OREAL)(又译为:欧莱雅公司或欧莱雅股份有限公司),经过一百多年的发展,其已经成长为全球知名的化妆品企业。
韩国知名演艺界人士金素熙于2009年开始创办3CE化妆品品牌,经过多年发展,积累了较高的知名度和美誉度。金素熙在中国注册了包括3CE在内的多枚商标。

金素熙在中国申请的关于“3CE”商标
2018年莱雅公司与金素熙旗下公司进行商业合作,并以合同受让方取得了3CE系列商标,目前商标属于合法有效状态。
近期,莱雅公司发现争议域名3ce.cc的域名注册机构为北京新网数码信息技术有限公司,该争议域名的解析网站首页栏目中单独突出使用了“3CE”字样;该网站展示宣传了包装上突出使用“3CE”标识的口红等化妆品。
原告莱雅公司认为,该网站展示推广的产品多为化妆品,争议域名3ce.cc的主要识别部分“3CE”及其解析网站的商户突出使用“3CE”标识,已经构成相同或类似商品上的近似商标,足以造成相关公众的误认,构成对3CE商标权的侵权。
故,莱雅公司(L‵OREAL SOCIETE ANONYME)以侵害商标权为由将北京新网数码信息技术有限公司诉至法院,要求新网数码即向莱雅公司书面披露“3ce.cc”域名注册人主体身份信息(包括姓名、名称、证件号码、地址、联系方式等)。目前,此案正在进一步审理中。
搜索“3ce.cc”域名的解析网站显示为上海芬岚化妆品有限公司旗下彩妆品牌3 concepteyes的官方网站。

“3ce.cc”域名解析网站为“3 concepteyes”品牌官网
工信部域名信息备案管理系统显示,“3ce.cc”域名的主办单位名称显示为“武汉兰达化妆品有限公司”,负责人为吴丽莉。企查查显示,吴丽莉同时为武汉兰达化妆品有限公司的法人、以及上海芬岚化妆品有限公司股东及最终受益人之一。

3CE 三熹玉 VS 3CE 第三眼
韩国3CE彩妆logo最初是英文3 concept eyes,但在2012年时“3 CONCEPT EYES”的商标在中国市场被上海芬岚化妆品有限公司(原武汉兰达化妆品有限公司)申请,并称为“中国3CE”,也称为“第三眼”,以销售彩妆为主。


吴丽莉名下的“3 concept eyes”商标
而法人为吴丽莉的武汉兰达化妆品有限公司名下也有两件关于3CE的商标,目前均已申请成功。

武汉兰达化妆品有限公司名下商标
无奈之下,3CE紧接着将商标改名为“3 CE STYLENANDA”和如今的三角形LOGO,还以“三熹玉”本土化的名称进驻了中国丝芙兰。

芬岚3CElogo

韩国3CE原logo

韩国3CE现在logo
商标局网站查询得知,关于“3CE”的商标共有168件;

最早的一件第3类化妆品“3CE”商标属于广州市宛昕贸易有限公司,目前处于异议状态;

属于莱雅公司的有98件;

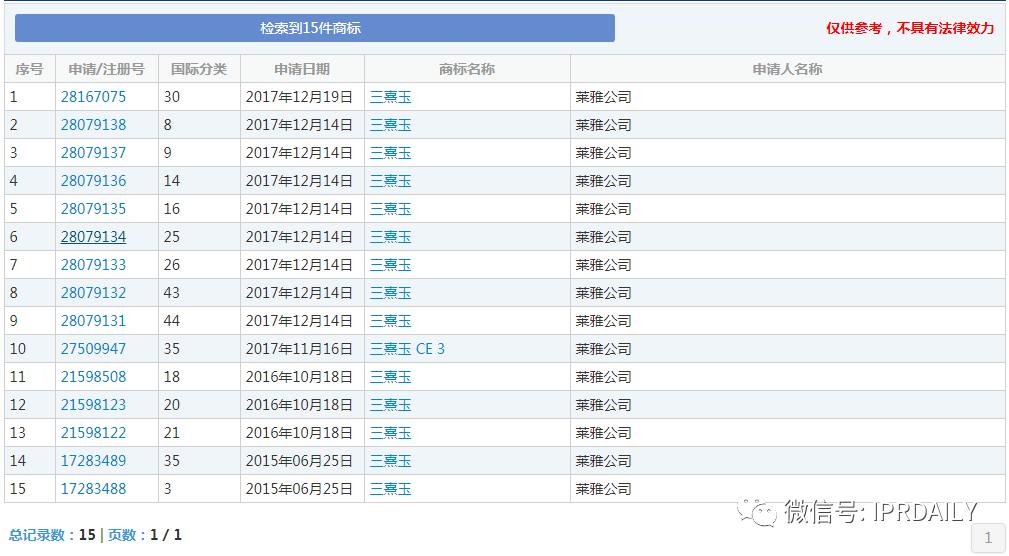
莱雅公司于2015年8月14日,申请了第一件第3类“3CE 三熹玉”商标;

而且,莱雅公司已经申请成功了新的三角形LOGO图形商标

2015年至2017年,莱雅公司还申请了众多“三熹玉”商标,而且都已申请成功。

但是,商标局网站信息显示,2018年9月,欧莱雅申请了第3类的“3 CE”商标,目前仍未获得通过,而该商标与“3CE”唯一的不同是多出了一个空格。

结语
从2018年韩国3CE Stylenanda被欧莱雅收购,到2019年初,该品牌正式进入中国市场,并主攻电商渠道开始,业界就引发了关于两个“3CE”将正面交锋的讨论。此次的域名事件,难道真的正在释放出一个信号——两大“3CE”的正面交锋即将开始?

来源:IPRdaily
编辑:金石智权
说明:本文如有侵权,请联系金石智权小编进行删除,谢谢。
沈阳金石智权网络技术有限公司专注提供知识产权业务智能化解决方案,团队核心成员都有代理机构从业经验,拥有代理人资格证书,长期从事知识产权行业相关软件研发工作。
公司主要产品有金石智权专利业务管理系统、金石智权商标业务管理系统、金石智权智能IP人辅助工具、金石智权专利业务统计分析系统、金石智权企业知识产权管理系统、金石智权办公自动化管理系统等。
版权声明:CosMeDna所有作品(图文、音视频)均由用户自行上传分享,仅供网友学习交流。若您的权利被侵害,请联系删除!
本文链接://www.cosmedna.com/article/145462392.html







